经过漫长的竞争,线上剧本杀或将进入优胜劣汰、赢者通吃的阶段。
2022年6月18日,剧本杀APP《戏精大侦探》正式停服,标志着这个运营4年之久的APP退出了线上剧本杀市场的争夺。

《戏精大侦探》由西安趣灵网络科技有限公司研发,于2018年6月上线。该团队此前曾运营过狼人杀类APP,CEO张萌曾运营过狼人杀微信公众号,并做到了100万用户。
但在线上剧本杀领域,《戏精大侦探》显然没有找到正确的方向。
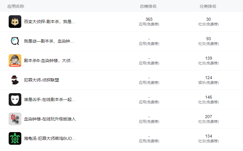
2021年底,剧游网曾统计四家主流剧本杀APP的数据表现,彼时《戏精大侦探》的数据表现就明显与第一梯队有较大差距。

表格为2021年12月数据
半年过去了,表格中的四家剧本杀APP,《百变大侦探》依然保持着行业龙头位置,并且在笔者个人看来,也最有可能实现赢家通吃。
根据点点数据统计,目前《百变大侦探》在同类剧本杀APP的分类排名中一直稳居首位,近一年IOS端日均下载量在一万以上,遥遥领先于其他竞品。


2021年11月曾因监管政策下架,无下载量,点点数据统计
《百变大侦探》为何能坐稳头把交椅?
一切依然要回到疫情这个话题上。
众所周知,剧本杀是一种线下游戏。它最初诞生于线下,也最适合线下,但是线上剧本杀APP凭借更方便、更廉价、不受地域限制等优点,也逐渐占据了一席之地。
在很长一段时间内,关于线上剧本杀与线下剧本杀的讨论,基本上是一边倒。业界和玩家普遍认为,剧本杀本质上是一种目的地消费,线下才是最纯粹的剧本杀。
在大家看来,线上本普遍质量低、流程短,没有DM引导流程,很多体验过线下本的玩家,很难再重回线上打本。
如果照此趋势发展,线上剧本杀凉凉是迟早的事,但是疫情给线上剧本杀带来一波助攻:线下娱乐场所全部关停,众多玩家只能转投线上。
虽然疫情给行业造成了难以估量的损失,但对于线上APP而言,显然是一波天降流量。目前来看,只有《百变大侦探》一家真正接住了这波流量,因为只有它们,真正在尝试解决线上本与线下本之间的质量差距。
2022年3月,《百变大侦探》推出了线上DM板块(现在叫主持人带本区)。
这个板块的逻辑非常简单:找发行方买授权,把线下实体店卖的那些盒装本转移到线上,增加DM带本,在剧本内容上抹平了线上与线下的差别。

这个板块最初上线时,收录的线下本很少,质量普遍较低,但是随着APP版本的不断更新,《百变大侦探》展现了头部品牌的强大号召力,业内知名发行纷纷授权,剧本库不断丰富。
目前白鹿书院的《山之神》,剧鱼的《你好》,万游文创的《蒙轻纱的处女》,葵花工作室的《野生》,黑桃皇后工作室的《天上的星星睡着了》等诸多线下爆款本均被收录到剧本库,未来还有望增加更多线下本。
虽然线上玩本依然有诸多限制,比如沉浸感较低,一些需要演绎、实景搜证的剧本很难通过线上来体验,收录的剧本也仅限于支持大规模发售的盒装本,但是目前收录的这些线下本,已经对曾经的线上本是一种降维打击。

一项新模式要想运转下去,首先要有利可图。
《百变大侦探》新增的主持人带本区,对标线下本设置了DM带本,而招聘DM产生的人员成本,对于线下店也是一个不小的负担。
根据笔者的了解,《百变大侦探》在初期选择了与线下门店合作,由门店内推DM来平台带本,后期则采用了工会制度,将DM的招聘、培训全部交给外包团队(即各个工会)来负责,每次带本的收益由DM、工会、百变大侦探三方分成。
据悉,这些工会招聘的DM很多为兼职人员,业务水平也参差不齐。为了提升用户体验,百变大侦探设置了DM评级晋升制度,更高级别的DM可以获得更高的开本收益权限:
实习DM的客单价为29元;
铜牌DM的客单价为39元;
银牌DM的客单价为39/49元;
金牌DM的客单价为39/49/59元;
钻石DM的客单价为39/49/59/69元。

这个价格比大多数门店还是要便宜一些,在笔者看来还是比较合理的。DM的级别与好评率挂钩,通常更高级别的DM也意味着更专业的服务水平。
但另一方面,如果以最高级别的69元客单价为例,这一价位就很尴尬,因为69元在中小城市完全可以去实体店打个本了,而线上的体验肯定是不如实体店的。
不管怎么说,一个新模式的上线,肯定要经过一段时间的磨合和适应。就像电影一样,有人喜欢去电影院看,也有人会选择在网上看。对于玩家来说,线下体验更好,线上更廉价方便,两种选择互为补充,也是一件好事。
或许,未来的剧本杀也会像影视行业一样,出现腾爱优这样的头部线上平台。
又或许,线上模式对剧本杀还有一个更大的意义,那就是为老本留下痕迹,为冷门本提供翻红机会。
剧本杀诞生这些年,每年诞生那么多新剧本,大部分可能没溅出水花就被埋没了,很多老本、冷门本玩家就算想玩也玩不到。这些被埋没的老本、冷门本,未必质量真的很差,也许只是营销没有跟上,或者没有赶上一个好的市场环境,而线上能为它们提供第二次的机会。

剧本杀依然是一种小众娱乐,而线上剧本杀更是小众中的小众。无论在小红书、大众点评、微博等公共平台,还是谜圈、集石、一起剧本杀等剧本杀玩家社区,我们能看到玩家们讨论最多的还是那些线下本。《百变大侦探》收录线下剧本,可以看作是向市场主流靠拢,相较于其他剧本杀APP,它已经抢占了先机。
文章作者:大海里的针
特别声明:文章来源用户上传并发布,本站只提供信息存储服务,不拥有所有权,内容仅供参考。